Facebook Pixel

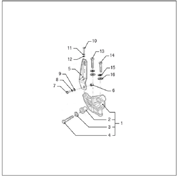
Intercooler,support for VF4.140 & VF4.170

Grupperede produkter
No. Item No. Produktnavn
Der findes ingen indstillinger for dette produkt.
Mere information
Motor type F-Line
Gruppe ecploded views 3: Cooling system
Motor type - splittegning VF4
  • Close
    Der er ingen produkter, der matcher dit valg.